
Toyota Land Cruiser
Service Manual
Suspension & Axle » Front torsion bar spring
Installation
1. INSTALL TORQUE ARM
Install the bolt, torque arm and 2 nuts.
Torque: 225 N·m (2,300 kgf·cm, 166 ft·lbf)
2. INSTALL TORSION BAR SPRING WITH ANCHOR ARM

HINT:
- There are right and left matchmarks on the rear end of the
torsion bar springs.
- Apply a light coat of MP grease to the spline of the torsion
bar springs.
(a) New torsion bar spring:
Install a new torsion bar spring and anchor arm.
- Install the anchor arm to a new torsion bar spring.
- Install the torsion bar spring with the anchor arm to
the torque arm.
- Install the anchor arm adjusting seat, anchor arm
swivel and anchor arm adjusting bolt.

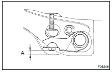
- Check that the length of anchor arm adjusting bolt
end is almost same as dimension "B" measured
when the torsion bar was removed.

- Tighten the anchor arm adjusting bolt so that the dimension
"A" is within the specified value in the table
below.
Reference:

(b) Reused torsion bar spring:
Install the torsion bar spring and anchor arm.
- Align matchmarks on the torsion bar spring and anchor
arm and install them.
- Align matchmarks on the torsion bar spring and
torque arm and install them.

- Tighten the anchor arm bolt adjusting so that the dimension
"A" is almost same as the dimension measured
when the torsion bar spring was removed.
3. INSTALL ENGINE UNDER COVER
4. INSTALL FRONT WHEEL
Torque: 131 N·m (1,340 kgf·cm, 97 ft·lbf)
5. CHECK VEHICLE HEIGHT (SA-6 )
HINT:
After stabilizing the suspension, adjust the vehicle height by
turning the anchor arm bolt.
More about «Front torsion bar spring»:
Installation